申请日2016.05.27
公开(公告)日2017.12.05
IPC分类号C02F9/14
摘要
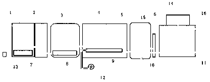
本发明公开了一种高浓度有机废水处理回用一体化装置,该装置依次设有厌氧池、缺氧池、MBR池、BAF池、超滤反渗透装置和混凝沉淀池;本发明的优点在于:该装置解决了污水设施占地面积大,投资成本高、施工期长、施工图设计繁琐等问题,结构紧凑,设计合理,占地面积小,一次性投资小,操作简单,污水处理运行成本低,适用范围广。
摘要附图
权利要求书
1.一种高浓度有机废水处理回用一体化装置,其特征在于:所述一体化装置依次设有厌氧池、缺氧池、MBR池、BAF池、超滤反渗透装置和混凝沉淀池。
2.根据权利要求1所述的一体化装置,其特征在于:所述厌氧池设有厌氧反应器,为污泥床厌氧反应器,并通过水泵与回收调节池相连。
3.根据权利要求1所述的一体化装置,其特征在于:所述MBR池设有膜生物反应器。
说明书
高浓度有机废水处理回用一体化装置
技术领域
本发明涉及一种有机废水处理装置,具体地说是一种高浓度有机废水处理回用一体化装置,属于废水处理设备领域。
背景技术
高浓度有机废水一般是指由造纸、皮革、垃圾渗滤液、食品等行业排出的COD在2000mg/L以上的废水。这些废水中含有大量的碳水化合物、脂肪、蛋白质、纤维素等有机物,如果直接排放,会造成严重污染,所以必须采取措施处理污水。目前大部分有机废水的处理采用生化处理方法进行处置,其设施存在占地面积大,投资成本高、施工期长、施工图设计繁琐等缺陷。
发明内容
为了解决上述问题,本发明设计了一种高浓度有机废水处理回用一体化装置,该装置解决了污水设施占地面积大、投资成本高、施工期长、施工图设计繁琐等问题,结构紧凑,设计合理,占地面积小,一次性投资小,操作简单,污水处理运行成本低,适用范围广。
本发明的技术方案为:
一种高浓度有机废水处理回用一体化装置,该装置依次设有厌氧池、缺氧池、MBR池、BAF池、超滤反渗透装置和混凝沉淀池;
所述厌氧池设有厌氧反应器,为污泥床厌氧反应器,并通过水泵与回收调节池相连;具有污泥浓度高、处理负荷高,出水效果好的优点,通过厌氧池使高浓度有机废水中的大分子有机物得到降解,作为后续好氧生物处理的预处理单元。
所述MBR池设有膜生物反应器,膜生物反应器起到提高污泥浓度、进而提高处理效率,同时对后续的超滤反渗透池起到预处理作用;利用膜生物反应器分离组件将生化反应池中的活性污泥和大分子有机物截留住。
所述BAF池为固定化微生物-曝气生物滤池,底部设有微孔膜气孔,微孔膜气孔与鼓风机相连,在微孔膜气孔上方设有生物膜载体,用于去除氨氮;
所述超滤反渗透装置底部设有清水输出口,另外还设有清洗装置,定期对设备进行清洗;
所述混凝沉淀池上部设有废水出水口,与回收调节池相连,将上层废水输回到回收调节池,混凝沉淀池下部设有污泥排出口,产生的污泥运通过污泥排出口排出后运送到垃圾填埋场;另外,混凝沉淀池顶部还设有加药装置,通过加药系统添加PAC、PAM处理。
本发明一体化装置依次通过厌氧池降解大分子有机物,缺氧池和MBR池可提高废水的可生化性、去除有机物、氨氮和总氮,BAF池可去除氨氮,超滤反渗透装置使出水达到回用水标准,产生的浓水进入混凝沉淀池,用混凝沉淀的方法去除,混凝沉淀后上层废水回到调节池,污泥运送到垃圾填埋场,结构紧凑,设计合理,操作简单。
本发明的优点在于:该装置解决了污水设施占地面积大,投资成本高、施工期长、施工图设计繁琐等问题,结构紧凑,设计合理,占地面积小,一次性投资小,操作简单,污水处理运行成本低,适用范围广。
下面结合附图和实施例对本发明作进一步说明。


