公布日:2024.06.25
申请日:2023.11.28
优先权:2022-2062742022.12.23JP
摘要
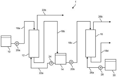
本发明提供在处理含氢氟酸水时能抑制因过滤材料的溶解所致的过滤材料的减少、且使装置稳定地运转的含氢氟酸水的处理装置。pH小于4的含氢氟酸水的处理装置(1)具有填充有过滤材料的过滤装置(12)以及配置于过滤装置(12)的后级且填充有离子交换体的去离子装置(16),所述过滤材料由合成树脂制过滤材料构成,或由合成树脂制过滤材料与碳系过滤材料的组合构成,或由碳系过滤材料构成。

权利要求书
1.一种含氢氟酸水的处理装置,是pH小于4的含氢氟酸水的处理装置,其特征在于,所述含氢氟酸水的处理装置具有:过滤装置,其填充有过滤材料;以及去离子装置,其配置于所述过滤装置的后级,且填充有离子交换体,所述过滤材料由合成树脂制过滤材料构成。
2.一种含氢氟酸水的处理装置,是pH小于4的含氢氟酸水的处理装置,其特征在于,所述含氢氟酸水的处理装置具有:过滤装置,其填充有过滤材料;以及去离子装置,其配置于所述过滤装置的后级,且填充有离子交换体,所述过滤材料由合成树脂制过滤材料与碳系过滤材料的组合构成。
3.一种含氢氟酸水的处理装置,是pH小于4的含氢氟酸水的处理装置,其特征在于,所述含氢氟酸水的处理装置具有:过滤装置,其填充有过滤材料;以及去离子装置,其配置于所述过滤装置的后级,且填充有离子交换体,所述过滤材料由碳系过滤材料构成。
4.根据权利要求3所述的含氢氟酸水的处理装置,其特征在于,所述过滤材料由有效直径及比重不同的至少2种所述碳系过滤材料构成,所述过滤装置填充有多层所述至少2种所述碳系过滤材料。
5.根据权利要求1至4中任一项所述的含氢氟酸水的处理装置,其特征在于,所述含氢氟酸水是半导体工厂的除害设备的排水。
6.根据权利要求1或2所述的含氢氟酸水的处理装置,其特征在于,所述合成树脂制过滤材料包含以聚乙烯PE、聚丙烯PP、聚氯乙烯PVC、聚苯乙烯PS、聚酯、聚酰胺PA、聚碳酸酯PC、聚乙烯醇PVA或聚四氟乙烯PTFE的任一种为主成分的过滤材料当中的有效直径及比重不同的至少2种过滤材料。
7.根据权利要求1或2所述的含氢氟酸水的处理装置,其特征在于,所述合成树脂制过滤材料是纤维状过滤材料。
8.一种含氢氟酸水的处理方法,是pH小于4的含氢氟酸水的处理方法,其特征在于,所述含氢氟酸水的处理方法包括:过滤工序,向填充有过滤材料的过滤装置通入所述含氢氟酸水来得到过滤水;以及去离子工序,向填充有离子交换体的去离子装置通入所述过滤水来得到离子交换处理水,所述过滤材料由合成树脂制过滤材料构成。
9.一种含氢氟酸水的处理方法,是pH小于4的含氢氟酸水的处理方法,其特征在于,所述含氢氟酸水的处理方法包括:过滤工序,向填充有过滤材料的过滤装置通入所述含氢氟酸水来得到过滤水;以及去离子工序,向填充有离子交换体的去离子装置通入所述过滤水来得到离子交换处理水,所述过滤材料由合成树脂制过滤材料与碳系过滤材料的组合构成。
10.一种含氢氟酸水的处理方法,是pH小于4的含氢氟酸水的处理方法,其特征在于,所述含氢氟酸水的处理方法利用填充有过滤材料的过滤装置以及配置于所述过滤装置的后级且填充有离子交换体的去离子装置,所述过滤材料由碳系过滤材料构成。
发明内容
发明要解决的课题
为此,本发明的目的是提供含氢氟酸水的处理装置以及处理方法,在处理含氢氟酸水时,能抑制因过滤材料的溶解所致的过滤材料的减少,且使装置稳定地运转。
用于解决课题的技术方案
本技术方案涉及一种含氢氟酸水的处理装置,是pH小于4的含氢氟酸水的处理装置,具有:过滤装置,其填充有过滤材料;以及去离子装置,其配置于所述过滤装置的后级,且填充有离子交换体,所述过滤材料由合成树脂制过滤材料构成。
另外,本技术方案涉及一种含氢氟酸水的处理装置,是pH小于4的含氢氟酸水的处理装置,具有:过滤装置,其填充有过滤材料;以及去离子装置,其配置于所述过滤装置的后级,且填充有离子交换体,所述过滤材料由合成树脂制过滤材料与碳系过滤材料的组合构成。
另外,本技术方案涉及一种含氢氟酸水的处理装置,是pH小于4的含氢氟酸水的处理装置,具有:过滤装置,其填充有过滤材料;以及去离子装置,其配置于所述过滤装置的后级,且填充有离子交换体,所述过滤材料由碳系过滤材料构成。
另外,优选地,在所述含氢氟酸水的处理装置的基础上,所述过滤材料由有效直径及比重不同的至少2种所述碳系过滤材料构成,所述过滤装置填充有多层所述至少2种所述碳系过滤材料。
另外,优选地,在所述含氢氟酸水的处理装置的基础上,所述含氢氟酸水是半导体工厂的除害设备的排水。
另外,优选地,在所述含氢氟酸水的处理装置的基础上,所述合成树脂制过滤材料包含以聚乙烯(PE)、聚丙烯(PP)、聚氯乙烯(PVC)、聚苯乙烯(PS)、聚酯、聚酰胺(PA)、聚碳酸酯(PC)、聚乙烯醇(PVA)或聚四氟乙烯(PTFE)的任一种为主成分的过滤材料当中的有效直径及比重不同的至少2种过滤材料。
另外,优选地,在所述含氢氟酸水的处理装置的基础上,所述合成树脂制过滤材料是纤维状过滤材料。
另外,本技术方案涉及一种含氢氟酸水的处理方法,是pH小于4的含氢氟酸水的处理方法,包括:过滤工序,向填充有过滤材料的过滤装置通入所述含氢氟酸水来得到过滤水;以及去离子工序,向填充有离子交换体的去离子装置通入所述过滤水来得到离子交换处理水,所述过滤材料由合成树脂制过滤材料构成。
另外,本技术方案涉及一种含氢氟酸水的处理方法,是pH小于4的含氢氟酸水的处理方法,包括:过滤工序,向填充有过滤材料的过滤装置通入所述含氢氟酸水来得到过滤水;以及去离子工序,向填充有离子交换体的去离子装置通入所述过滤水来得到离子交换处理水,所述过滤材料由合成树脂制过滤材料与碳系过滤材料的组合构成。
另外,本技术方案涉及一种含氢氟酸水的处理方法,是pH小于4的含氢氟酸水的处理方法,利用填充有过滤材料的过滤装置以及配置于所述过滤装置的后级且填充有离子交换体的去离子装置,所述过滤材料由碳系过滤材料构成。
发明效果
根据本发明,在处理含氢氟酸水时,能抑制因过滤材料的溶解所致的过滤材料的减少,且使装置稳定地运转。
(发明人:中野彻)






