公布日:2023.10.13
申请日:2023.08.25
分类号:C02F3/30(2023.01)I;C02F101/16(2006.01)N
摘要
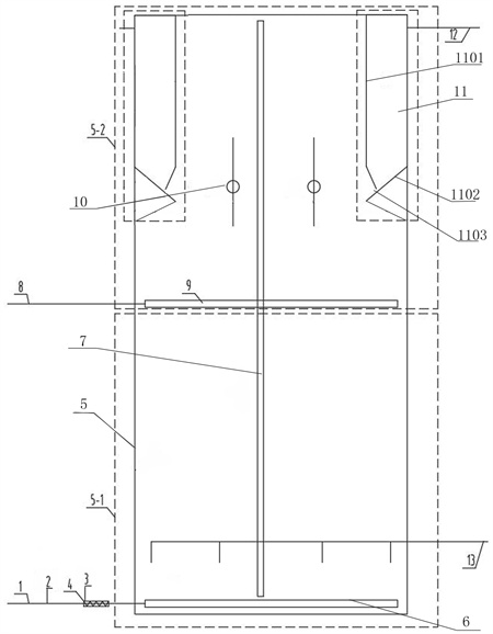
本发明公开一种城市尾水深度脱氮反应器,反应器本体内分为下部缺氧层和上部好氧层,缺氧层底部设置伸入反应器本体的进水管,进水管末端连接布水器;好氧层底部设置曝气管和曝气装置,好氧层内部有填料,好氧层侧壁设置澄清装置,澄清装置与好氧层连通,澄清装置的上部设有出水管;反应器本体内部设置污泥气提管,污泥气提管上端接近好氧层顶部,下端靠近缺氧层底部。本发明在相同处理规模下其占地面积小于重力流式反硝化滤池,克服传统反硝化滤池工艺占地面积大的问题。

权利要求书
1.一种城市尾水深度脱氮反应器,包括反应器本体(5),其特征在于:反应器本体(5)内分为下部缺氧层(5-1)和上部好氧层(5-2),缺氧层(5-1)底部设置进水管(1),进水管(1)上连接碳源精准加药装置(3),进水管(1)末端伸入反应器本体内并连接布水器(6);好氧层(5-2)底部设置曝气管(8)和曝气装置(9),好氧层(5-2)内部有填料(10),好氧层(5-2)侧壁设置澄清装置(11),澄清装置(11)与好氧层(5-2)连通,澄清装置(11)的上部设有出水管(12);反应器本体(5)内部设置从缺氧层气提污泥至好氧层的污泥气提管(7),污泥气提管(7)上端接近好氧层(5-2)顶部,下端靠近缺氧层(5-1)底部。
2.根据权利要求1所述一种城市尾水深度脱氮反应器,其特征在于:所述澄清装置(11)包括竖板(1101)和斜板(1102),竖板(1101)与斜板(1102)之间有流体通道(1103),竖板(1101)上端固定在反应器本体(5)顶部,竖板(1101)下端向斜板(1102)折弯,斜板(1102)上端固定在反应器本体(5)的侧壁上。
3.根据权利要求1所述一种城市尾水深度脱氮反应器,其特征在于:缺氧层(5-1)底部还设置排泥管(13)。
4.根据权利要求1所述一种城市尾水深度脱氮反应器,其特征在于:污泥气提管(7)多于一根。
5.根据权利要求1所述一种城市尾水深度脱氮反应器,其特征在于:进水管(1)上连接硝酸盐在线分析设备(2)。
6.根据权利要求1所述一种城市尾水深度脱氮反应器,其特征在于:进水管(1)上连接管道混合器(4)。
7.根据权利要求1所述一种城市尾水深度脱氮反应器,其特征在于:所述填料(10)为固定类型填料或悬浮类型填料。
8.根据权利要求7所述一种城市尾水深度脱氮反应器,其特征在于:所述填料(10)为悬浮类型填料时,缺氧层(5-1)和好氧层(5-2)之间设置有孔的隔板,隔板上的孔径可供泥水通过,填料通不过。
发明内容
针对现有技术中存在的上述问题,本发明提供一种占地面积小,处理后的出水TN降至5mg/L以下的城市尾水深度脱氮反应器。
本发明的目的是以下述方式实现的:一种城市尾水深度脱氮反应器,包括反应器本体,反应器本体内分为下部缺氧层和上部好氧层,缺氧层底部设置进水管,进水管上连接碳源精准加药装置,进水管末端伸入反应器本体内并连接布水器;好氧层底部设置曝气管和曝气装置,好氧层内部有填料,好氧层侧壁设置澄清装置,澄清装置与好氧层连通,澄清装置的上部设有出水管;反应器本体内部设置从缺氧层气提污泥至好氧层的污泥气提管,污泥气提管上端接近好氧层顶部,下端靠近缺氧层底部。
所述澄清装置包括竖板和斜板,竖板与斜板之间有流体通道,竖板上端固定在反应器本体顶部,竖板下端向斜板折弯,斜板上端固定在反应器本体的侧壁上。
缺氧层底部还设置排泥管。
污泥气提管多于一根。
进水管上连接硝酸盐在线分析设备。
进水管上连接管道混合器。
所述填料为固定类型填料或悬浮类型填料。
所述填料为悬浮类型填料时,缺氧层和好氧层之间设置有孔的隔板,隔板上的孔径可供泥水通过,填料通不过。
相对于现有技术,本发明采用下进水上出水的水处理流程,缺氧层和好氧层无缝串连,相同处理规模下其占地面积小于重力流式反硝化滤池,克服传统反硝化滤池工艺占地面积大的问题。好氧层采用接触氧化模式,通过在反应器本体内部设置污泥气提管,将缺氧层的污泥提升至好氧层,与好氧层的填料充分接触,保证好氧层所需的微生物量及污泥浓度;通过澄清装置可将污泥截留在好氧层中,好氧层中多余的污泥会自滑入缺氧层,从而保证好氧层和缺氧层所需的污泥浓度;不仅可以高效去除城市尾水中的硝态氮,也能保证氨氮和COD的达标排放。另外,不需要单独设置驱氮装置,同时节约投资造价。
(发明人:黄晓辉;杨一鸣;张彦召;柳世乐;刘怡冰)






