公布日:2024.01.16
申请日:2023.11.13
分类号:C02F1/72(2023.01)I;C02F1/461(2023.01)I;C02F1/52(2023.01)I
摘要
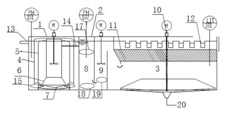
本发明涉及一种芬顿与电氧化耦合的污水处理装置,包括依次连接的联合氧化反应器、混凝单元和沉淀单元;联合氧化反应器内由外向内包括第一电极板、第二电极板和强化反应筒,第一电极板和第二电极板分别电连接外部电源的正极和负极,以进行电氧化处理;强化反应筒内设有搅拌装置,联合氧化反应器的底部且对应强化反应筒的位置设有氧化剂加药管,用于向强化反应筒内输入氧化剂,以进行芬顿反应;混凝单元包括依次连接的混凝区和絮凝区,混凝区和絮凝区的上游侧均设有加药管;沉淀单元由下至上包括刮泥机、斜板填料和溢流槽。

权利要求书
1.一种芬顿与电氧化耦合的污水处理装置,其特征在于,包括依次连接的联合氧化反应器、混凝单元和沉淀单元;联合氧化反应器内由外向内包括第一电极板、第二电极板和强化反应筒,第一电极板和第二电极板分别电连接外部电源的正极和负极,以进行电氧化处理;强化反应筒内设有搅拌装置,联合氧化反应器的底部且对应强化反应筒的位置设有氧化剂加药管,用于向强化反应筒内输入氧化剂,以进行芬顿反应;混凝单元包括依次连接的混凝区和絮凝区,混凝区和絮凝区的上游侧均设有加药管;沉淀单元由下至上包括刮泥机、斜板填料和溢流槽。
2.根据权利要求1所述的芬顿与电氧化耦合的污水处理装置,其特征在于,所述联合氧化反应器为圆柱形,第一电极板、第二电极板、强化反应筒和联合氧化反应器的外壳均同心设置;外壳与第一电极板之间的空间为第一腔体,第一电极板与第二电极板之间的空间为第二腔体,第二电极板与第强化反应筒之间的空间为第三腔体;外壳的顶部设有进水管,用于向第一腔体内输入废水,废水再依次流经第二腔体和第三腔体,进行电氧化处理;然后废水流经强化反应筒内部,进行芬顿氧化处理。
3.根据权利要求2所述的芬顿与电氧化耦合的污水处理装置,其特征在于,所述第一电极板的顶部高于第一腔体和第二腔体的液面,底部悬空,使得第一腔体内的废水由上至下流动,再从第一电极板的底部进入第二腔体;第二电极板的顶部低于第一电极板的顶部,底部连接联合氧化反应器的底面,使得第二腔体内的废水由下至上流动,再从第二电极板的顶部溢流至第三腔体;强化反应筒的顶部高于第三腔体的液面,底部悬空,使得第三腔体内的废水由上至下流动,再从强化反应筒的底部进入强化反应筒内部。
4.根据权利要求3所述的芬顿与电氧化耦合的污水处理装置,其特征在于,所述强化反应筒的底部的直径大于自身其它部分的直径,强化反应筒的底部敞口,便于从第三腔体输入的废水和氧化剂加药管的氧化剂进入强化反应筒;强化反应筒的上部设有出水管,出水管连接混凝区的顶部,强化反应筒内的废水由下至上流动,再由出水管输入混凝区。
5.根据权利要求3所述的芬顿与电氧化耦合的污水处理装置,其特征在于,所述联合氧化反应器的底面且对应第一腔体和第二腔体的位置设有第一曝气管,用于气动扰动第一腔体和第二腔体内的水体。
6.根据权利要求4所述的芬顿与电氧化耦合的污水处理装置,其特征在于,所述氧化剂加药管设在强化反应筒的下方,氧化剂加药管为环状,且氧化剂加药管的直径略小于强化反应筒的底部的直径,使得氧化剂加药管输入的双氧水优先进入强化反应筒内的边缘;氧化剂加药管的喷口向下设置,避免从强化反应筒落下的污泥堵塞喷口而影响加药。
7.根据权利要求6所述的芬顿与电氧化耦合的污水处理装置,其特征在于,所述第二电极板的底部设有一圈导流板,导流板处于氧化剂加药管的下方,导流板为向下凹陷的弧形板,其两侧高度相同,外侧边固定在第二电极面对强化反应筒的侧面上,内侧边悬空;导流板的环宽不小于氧化剂加药管的环宽,使得经导流板导流进入强化反应筒底部的水流能覆盖氧化剂加药管的加药面积,并携带双氧水进入强化反应筒的边缘。
8.根据权利要求7所述的芬顿与电氧化耦合的污水处理装置,其特征在于,所述强化反应筒的边缘设有若干个搅拌装置,若干个搅拌装置沿着强化反应筒的周向均匀设置,用于搅拌强化反应筒边缘上升的污水和双氧水。
9.根据权利要求1所述的芬顿与电氧化耦合的污水处理装置,其特征在于,所述混凝区的上部设有混凝剂加药环,底部设有第二曝气管,混凝区内废水的流向为由上至下,混凝剂加药环释放混凝剂,第二曝气管气动搅拌混凝区内的废水,促进混凝反应;混凝区底部设有第一出口,用于连通絮凝区底部。
10.根据权利要求9所述的芬顿与电氧化耦合的污水处理装置,其特征在于,所述絮凝区内设有搅拌器,下部设有絮凝剂加药环,絮凝区内废水的流向为由下至上,絮凝剂加药环释放絮混凝剂;絮凝区顶部设有第二出口,用于连通沉淀单元。
发明内容
针对上述问题,本发明提供一种芬顿与电氧化耦合的污水处理装置,包括依次连接的联合氧化反应器、混凝单元和沉淀单元;联合氧化反应器内由外向内包括第一电极板、第二电极板和强化反应筒,第一电极板和第二电极板分别电连接外部电源的正极和负极,以进行电氧化处理;强化反应筒内设有搅拌装置,联合氧化反应器的底部且对应强化反应筒的位置设有氧化剂加药管,用于向强化反应筒内输入氧化剂,以进行芬顿反应;
混凝单元包括依次连接的混凝区和絮凝区,混凝区和絮凝区的上游侧均设有加药管;沉淀单元由下至上包括刮泥机、斜板填料和溢流槽。
可选的,所述联合氧化反应器为圆柱形,第一电极板、第二电极板、强化反应筒和联合氧化反应器的外壳均同心设置;外壳与第一电极板之间的空间为第一腔体,第一电极板与第二电极板之间的空间为第二腔体,第二电极板与第强化反应筒之间的空间为第三腔体;
外壳的顶部设有进水管,用于向第一腔体内输入废水,废水再依次流经第二腔体和第三腔体,进行电氧化处理;然后废水流经强化反应筒内部,进行芬顿氧化处理。
进一步可选的,所述第一电极板的顶部高于第一腔体和第二腔体的液面,底部悬空,使得第一腔体内的废水由上至下流动,再从第一电极板的底部进入第二腔体;
第二电极板的顶部低于第一电极板的顶部,底部连接联合氧化反应器的底面,使得第二腔体内的废水由下至上流动,再从第二电极板的顶部溢流至第三腔体;
强化反应筒的顶部高于第三腔体的液面,底部悬空,使得第三腔体内的废水由上至下流动,再从强化反应筒的底部进入强化反应筒内部。
进一步可选的,所述强化反应筒的底部的直径大于自身其它部分的直径,即底部敞口,便于从第三腔体输入的废水和氧化剂加药管的氧化剂进入强化反应筒;
强化反应筒的上部设有出水管,出水管连接混凝区的顶部,强化反应筒内的废水由下至上流动,再由出水管输入混凝区。
进一步可选的,所述联合氧化反应器的底面且对应第一腔体和第二腔体的位置设有第一曝气管,用于气动扰动第一腔体和第二腔体内的水体。
本发明的联合氧化反应器通过由外向内依次设置的第一电极板、第二电极板和强化反应筒,控制废水流向,实现电氧化、芬顿氧化、双氧水氧化的三级氧化分解废水中的污染物。第一电极板和第二电极板的电氧化:电极板通电,废水在两个电极板间折流运行,充分和电极板接触,电解氧化废水中的污染物。电解氧化实现机理为直接氧化与间接氧化,其中,直接氧化作用为水通过电化学作用而产生·OH基团,其氧化活性极强,作用物无选择性;间接氧化为水中具备高浓度Cl-,Cl-在阳极板放出电子的作用下形成Cl2,Cl-于溶液中形成ClO-,溶液中的Cl2/ClO-氧化作用可有效去除废水中的污染物。
芬顿氧化:电解废水的电极板产生Fe2+,废水进入强化反应筒和添加的双氧水进一步强化芬顿反应,双氧水在Fe2+的催化作用下,生成具有高反应活性的羟基自由基·OH,·OH与大多数有机物作用使其降解。
双氧水氧化:强化反应筒内的双氧水作为一种强氧化性物质,与大多数有机物作用,使其降解。
由于芬顿氧化会产生较多的污泥,部分小颗粒污泥随产水进入混凝区,部分大颗粒污泥将沉降到联合氧化反应器的底部,而强化反应筒的下方还有氧化剂和来自第三腔体的水体需要进入强化反应筒,导致底部进水进料扰动污泥,使得污泥重返强化反应筒内,同时污泥也占用强化反应筒和联合氧化反应器的空间,降低了污水处理量。
可选的,所述氧化剂加药管为环状,且氧化剂加药管的直径略小于强化反应筒的底部的直径,使得氧化剂加药管输入的双氧水优先进入强化反应筒内的边缘;
氧化剂加药管的喷口向下设置,避免从强化反应筒落下的污泥堵塞喷口而影响加药。
可选的,所述第二电极板的底部设有一圈导流板,导流板处于氧化剂加药管的下方,导流板为向下凹陷的弧形板,其两侧高度相同,外侧边固定在第二电极面对强化反应筒的侧面上,内侧边悬空;
导流板的环宽不小于氧化剂加药管的环宽,使得经导流板导流进入强化反应筒底部的水流能覆盖氧化剂加药管的加药面积,并携带双氧水进入强化反应筒的边缘。
可选的,所述强化反应筒的边缘设有若干个搅拌装置,若干个搅拌装置沿着强化反应筒的周向均匀设置,用于搅拌强化反应筒边缘上升的污水和双氧水。
本发明通过氧化剂加药管和导流板的设置,使得第三腔体内污水经过弧形的导流板而转向,从氧化剂加药管的下方经过,携带双氧水向上进入强化反应筒,且先进入强化反应筒的边缘处,经过若干个搅拌装置的搅拌,将边缘处的新进水推向强化反应筒的中心,在进行氧化反应的同时,水体向上流动,反应产生的污泥主要从强化反应筒的中部(即对应环状的氧化剂加药管的中部空心处)向下掉落,泥水分离,因为该处没有直接上升的水流,而是搅拌装置横向或斜向搅动带来的水体混合,污泥下降的阻力较小,有利于泥水分离,下落的污泥不影响进水和加药管加药,污泥最终落在联合氧化器的底部,通过排渣口排出即可。
可选的,所述混凝区的上部设有混凝剂加药环,底部设有第二曝气管,混凝区内废水的流向为由上至下,混凝剂加药环释放混凝剂,第二曝气管气动搅拌混凝区内的废水,促进混凝反应;混凝区底部设有第一出口,用于连通絮凝区底部。
可选的,所述絮凝区内设有搅拌器,下部设有絮凝剂加药环,絮凝区内废水的流向为由下至上,絮凝剂加药环释放絮混凝剂;絮凝区顶部设有第二出口,用于连通沉淀单元。
(发明人:娄广亮;牛瑞胜;任晓敏;郭永正;孙振洲;陈然;赖明建;郭全杰;孙腾飞;王效骞;何朋英;田攀阳)






