公布日:2024.01.16
申请日:2023.12.05
分类号:C02F3/00(2023.01)I;C02F1/38(2023.01)I
摘要
本发明公开了一种生物载体污水处理方法,属于生物载体回收领域。该生物载体污水处理方法应用于生物载体循环旋流分离系统;其中,进泥调节池接收外来污泥后将其排至水力旋流分离器,水力旋流分离器分离出载体与剩余污泥;载体进入回收载体池后排出系统;剩余污泥进入一级剩余污泥池;剩余污泥在一级剩余污泥池产生沉淀,沉淀后的清流从一级剩余污泥池顶部的出水堰溢流至二级剩余污泥池,随后排出系统;一级剩余污泥池底部的污泥由剩余污泥回流泵再次输入水力旋流分离器进行处理。该生物载体污水处理方法充分利用了剩余污泥的特性,配合一级剩余污泥池使污泥中的载体与污水被充分处理,尽可能减少载体的流失,极大提高了生物载体的回收率。

权利要求书
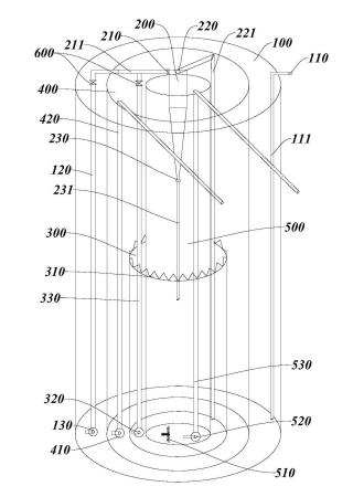
1.一种生物载体污水处理方法,其特征在于,应用于生物载体循环旋流分离系统;其中,进泥调节池接收外来污泥后将其排至水力旋流分离器,水力旋流分离器分离出载体与剩余污泥;载体进入回收载体池后排出系统;剩余污泥进入一级剩余污泥池;剩余污泥在一级剩余污泥池产生沉淀,沉淀后的清流从一级剩余污泥池顶部的出水堰溢流至二级剩余污泥池,随后排出系统;一级剩余污泥池底部的污泥由剩余污泥回流泵再次输入水力旋流分离器进行处理;所述系统为圆筒状,包括多层同心圆筒壁,相邻筒壁之间由内到外依次形成有回收载体池、一级剩余污泥池、二级剩余污泥池、进泥调节池。
2.根据权利要求1所述的生物载体污水处理方法,其特征在于:所述污泥回流泵具有指定工作液位,一级剩余污泥池内液体介质到达指定深度时,污泥回流泵开始工作,一级剩余污泥池内液体介质低于指定深度时,污泥回流泵停止工作。
3.根据权利要求1所述的生物载体污水处理方法,其特征在于:所述出水堰的高度低于其他筒壁的高度,且沿筒壁周向布置。
4.根据权利要求1所述的生物载体污水处理方法,其特征在于:所述水力旋流分离器位于回收载体池的正上方。
5.根据权利要求1所述的生物载体污水处理方法,其特征在于:所述水力旋流分离器通过上排泥管与所述一级剩余污泥池相连,所述上排泥管从上端伸至所述一级剩余污泥池的下侧。
6.根据权利要求1所述的生物载体污水处理方法,其特征在于:所述进泥调节池与二级剩余污泥池之间的筒壁为椭圆形。
7.根据权利要求1所述的生物载体污水处理方法,其特征在于:所述进泥调节池靠近外筒壁处设置有与系统外侧相通的进泥口,所述进泥调节池设置有进泥输送泵,用于将污泥输送至水力旋流分离器进泥口;其中,所述进泥口与所述进泥输送泵在水平方向的距离大于或等于所述进泥调节池的内筒壁的直径。
8.根据权利要求1所述的生物载体污水处理方法,其特征在于:所述二级剩余污泥池底部设置有排泥泵,所述排泥泵连接有剩余污泥排泥管,所述剩余污泥排泥管从筒壁上端伸出,所述用于将污泥排出系统。
9.根据权利要求7所述的生物载体污水处理方法,其特征在于:所述水力旋流分离器具有上进泥口,用于接收待处理污泥;所述进泥输送泵连接有一级送泥管,所述剩余污泥回流泵连接有剩余污泥回流管,所述一级送泥管、剩余污泥回流管并联入上进泥口,所述一级送泥管、剩余污泥回流管均设置有进泥阀;一级送泥管输送污泥时,其内部进泥阀打开,剩余污泥回流管内进泥阀关闭;剩余污泥回流管输送污泥时,其内部进泥阀打开,一级送泥管内进泥阀关闭。
10.根据权利要求1所述的生物载体污水处理方法,其特征在于:所述回收载体池底部设置推流器。
发明内容
为了解决相关技术中可能存在的问题,本申请的一些实施例提供了一种生物载体污水处理方法,应用于生物载体循环旋流分离系统;其中,进泥调节池接收外来污泥后将其排至水力旋流分离器,水力旋流分离器分离出载体与剩余污泥;载体进入回收载体池后排出系统;剩余污泥进入一级剩余污泥池;剩余污泥在一级剩余污泥池产生沉淀,沉淀后的清流从一级剩余污泥池顶部的出水堰溢流至二级剩余污泥池,随后排出系统;一级剩余污泥池底部的污泥由剩余污泥回流泵再次输入水力旋流分离器进行处理。
进一步的,污泥回流泵具有指定工作液位,一级剩余污泥池内液体介质到达指定深度时,污泥回流泵开始工作,一级剩余污泥池内液体介质低于指定深度时,污泥回流泵停止工作。
进一步的,系统为圆筒状,包括多层同心圆筒壁,相邻筒壁之间由内到外依次形成有回收载体池、一级剩余污泥池、二级剩余污泥池、进泥调节池。
进一步的,出水堰的高度低于其他筒壁的高度,且沿筒壁周向布置。
进一步的,水力旋流分离器位于回收载体池的正上方。
进一步的,水力旋流分离器通过上排泥管与一级剩余污泥池相连,所述上排泥管从上端伸至所述一级剩余污泥池的下侧。
进一步的,所述进泥调节池与二级剩余污泥池之间的筒壁为椭圆形。
进一步的,所述进泥调节池靠近外筒壁处设置有与系统外侧相通的进泥口,所述进泥调节池设置有进泥输送泵,用于将污泥输送至水力旋流分离器进泥口;其中,所述进泥口与所述进泥输送泵在水平方向的距离大于或等于所述进泥调节池的内筒壁的直径。
进一步的,所述二级剩余污泥池底部设置有排泥泵,所述排泥泵连接有剩余污泥排泥管,所述剩余污泥排泥管从筒壁上端伸出,所述用于将污泥排出系统。
进一步的,所述水力旋流分离器具有上进泥口,用于接收待处理污泥;所述进泥输送泵连接有一级送泥管,所述剩余污泥回流泵连接有剩余污泥回流管,所述一级送泥管、剩余污泥回流管并联入上进泥口,所述一级送泥管、剩余污泥回流管均设置有进泥阀。一级送泥管输送污泥时,其内部进泥阀打开,剩余污泥回流管内进泥阀关闭;剩余污泥回流管输送污泥时,其内部进泥阀打开,一级送泥管内进泥阀关闭。
进一步的,所述回收载体池底部设置推流器。
采用本发明提供的技术方案,与现有技术相比,具有如下有益效果:
该生物载体污水处理方法充分利用了剩余污泥的特性,配合一级剩余污泥池使污泥中的载体与污水被充分处理,尽可能减少载体的流失,极大提高了生物载体的回收率。
(发明人:方鑫;陈道康;陈梦雪)






