公布日:2024.01.16
申请日:2023.12.15
分类号:B01D36/02(2006.01)I;B01D35/16(2006.01)I
摘要
本发明涉及生产污水处理领域,具体为一种胶原蛋白膜生产过程中污水处理系统,包括处理罐,所述处理罐的内壁中设置有分离机构,所述处理罐的一侧外壁上连通设置有压块机构,所述处理罐的一侧外壁下方活动设置有清理机构。该种胶原蛋白膜生产过程中污水处理系统,通过压迫板中渗透孔和凹槽的设置,进行过滤操作,将大多数废渣过滤至处理罐的底部,方便进行后续抽取,能够提高过滤效果,且通过压块机构的设置,使得在压迫板完全下移后,触发螺旋升降机,将罐底的废渣灌入挤压仓中,并通过压板和伸缩杆的设置,使得在完成挤压复位后,能够自动打开底盖进行废料块的释放。

权利要求书
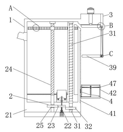
1.一种胶原蛋白膜生产过程中污水处理系统,包括处理罐(1),其特征在于:所述处理罐(1)的内壁中设置有分离机构(2),所述处理罐(1)的一侧外壁上连通设置有压块机构(3),所述处理罐(1)的一侧外壁下方活动设置有清理机构(4);所述分离机构(2)包括传动仓(21)和丝杆滑台(24),所述传动仓(21)的外壁与处理罐(1)的内壁固定连接,所述传动仓(21)的底壁上固定连接有电动机,且电动机的顶端转动连接有控制件(22),所述控制件(22)的一端外壁上套设有驱动齿轮(23),所述丝杆滑台(24)中的丝杆两端均与处理罐(1)的上下两端转动连接,所述丝杆滑台(24)的丝杆底端固定连接有第一齿轮(25),所述丝杆滑台(24)上的滑块(46)外壁上固定连接有压迫板(26),所述压迫板(26)的内壁中开设有渗透孔(27),所述渗透孔(27)的一侧开设有凹槽(28);所述控制件(22)包括转动套(221)、活动仓(223)、限位杆(226)和限制杆(228),所述转动套(221)的底壁与电动机的主轴固定连接设置,所述转动套(221)的内壁中固定连接有伸缩弹簧,且伸缩弹簧的顶端固定连接有驱动杆(222),所述驱动杆(222)滑动设置在转动套(221)内,所述驱动杆(222)与转动套(221)之间通过花键保持同步转动,所述活动仓(223)的底端与处理罐(1)的底壁固定连接,所述活动仓(223)的内壁中滑动设置有触发板(224),所述触发板(224)的内壁中开设有限位槽(225),所述触发板(224)的内壁与限位杆(226)的外壁插接设置,所述限位杆(226)的底端通过弹簧伸缩杆与驱动杆(222)的顶部相连接,所述限位杆(226)的侧壁固定设置有凸起,且凸起延伸至驱动杆(222)的外壁上,并且凸起的前端固定连接有滑套(227),所述滑套(227)的内壁与驱动杆(222)的外壁滑动连接设置,且驱动杆(222)的侧壁上开设有与凸起滑动连接的通槽,所述限制杆(228)的外壁与限位杆(226)的内壁滑动设置,所述限制杆(228)的外壁上套设有复位弹簧;所述限制杆(228)的前后两端均设置有凸块,且复位弹簧位于两组凸块之间;所述压块机构(3)包括螺旋升降机(31)、挤压仓(33)和转动槽(35),所述螺旋升降机(31)的外壁与处理罐(1)的顶壁固定连接,所述螺旋升降机(31)的螺旋杆轴端上固定连接有第二齿轮(32),所述第二齿轮(32)与驱动齿轮(23)水平设置,所述挤压仓(33)的外壁与处理罐(1)的外壁固定连接,所述挤压仓(33)的内壁中固定设置有液压升降杆,且液压升降杆的底端固定有压板(34),所述转动槽(35)开设在挤压仓(33)的内壁上,所述转动槽(35)的内壁中转动设置有伸缩杆(36),所述伸缩杆(36)的轴端套设有扭转弹簧,所述伸缩杆(36)末端一侧转动连接有斜杆(37),所述斜杆(37)的另一端铰接有齿板(38),且齿板(38)的另一侧与挤压仓(33)的内壁铰接设置,所述齿板(38)的下侧啮合连接有锁定齿轮,且锁定齿轮的轴端上固定连接有底盖(39),所述底盖(39)的轴端与及挤压仓(33)的底部相铰接;所述挤压仓(33)的内壁中固定设置有渗透仓,且渗透仓的外壁为透水层设置,并且渗透仓的内部与处理罐(1)的内腔相连通;所述清理机构(4)包括活动槽(41)和清理仓(42),所述活动槽(41)开设在处理罐(1)的外壁上,所述清理仓(42)的外壁与活动槽(41)滑动设置,所述清理仓(42)的一侧内壁上设置有驱动件(43),所述清理仓(42)的底壁上转动连接有传动杆(44),所述传动杆(44)的顶端固定连接有往复丝杆(45),所述往复丝杆(45)的外壁上螺纹设置有滑块(46),所述滑块(46)的两侧外壁上均铰接有刮擦板(47),所述刮擦板(47)的前端延伸至清理仓(42)的外壁上,所述刮擦板(47)的前端具有机械加工形成的斜板,且斜面朝上,所述刮擦板(47)的内部中开设有漏孔(48)。
2.根据权利要求1所述的一种胶原蛋白膜生产过程中污水处理系统,其特征在于:所述渗透孔(27)的前端与凹槽(28)相连通,所述渗透孔(27)的孔口壁具有机械加工形成的斜面,且斜面方向与凹槽(28)位置相反。
3.根据权利要求1所述的一种胶原蛋白膜生产过程中污水处理系统,其特征在于:所述伸缩杆(36)中的移动端与固定端之间通过弹簧固定连接设置,所述伸缩杆(36)的前端具有机械加工形成的斜面,且斜面与压板(34)的底面相匹配。
4.根据权利要求1所述的一种胶原蛋白膜生产过程中污水处理系统,其特征在于:所述驱动件(43)包括驱动仓(431),所述驱动仓(431)的外壁与清理仓(42)的内壁固定连接,所述驱动仓(431)的内壁中转动连接有驱动轮(432),所述驱动轮(432)的外壁上固定连接有第三齿轮(433),所述第三齿轮(433)的底端铰接有端面齿轮(434),所述端面齿轮(434)的底端与驱动仓(431)转动设置,所述端面齿轮(434)的轴端通过皮带与传动杆(44)连接。
发明内容
本发明的目的在于提供一种胶原蛋白膜生产过程中污水处理系统,以解决上述背景技术中提出的问题。
为实现上述目的,本发明提供如下技术方案:一种胶原蛋白膜生产过程中污水处理系统,包括处理罐,所述处理罐的内壁中设置有分离机构,所述处理罐的一侧外壁上连通设置有压块机构,所述处理罐的一侧外壁下方活动设置有清理机构;
所述分离机构包括传动仓和丝杆滑台,所述传动仓的外壁与处理罐的内壁固定连接,所述传动仓的底壁上固定连接有电动机,且电动机的顶端转动连接有控制件,所述控制件的一端外壁上套设有驱动齿轮,所述丝杆滑台中的丝杆两端均与处理罐的上下两端转动连接,所述丝杆滑台的丝杆底端固定连接有第一齿轮,所述丝杆滑台上的滑块外壁上固定连接有压迫板,所述压迫板的内壁中开设有渗透孔,所述渗透孔的一侧开设有凹槽。
优选的,所述控制件包括转动套、活动仓、限位杆和限制杆,所述转动套的底壁与电动机的主轴固定连接设置,所述转动套的内壁中固定连接有伸缩弹簧,且伸缩弹簧的顶端固定连接有驱动杆,所述驱动杆滑动设置在转动套内,所述驱动杆与转动套之间通过花键保持同步转动,所述活动仓的底端与处理罐的底壁固定连接,所述活动仓的内壁中滑动设置有触发板,所述触发板的内壁中开设有限位槽,所述触发板的内壁与限位杆的外壁插接设置,所述限位杆的底端通过弹簧伸缩杆与驱动杆的顶部相连接,所述限位杆的侧壁固定设置有凸起,且凸起延伸至驱动杆的外壁上,并且凸起的前端固定连接有滑套,所述滑套的内壁与驱动杆的外壁滑动连接设置,且驱动杆的侧壁上开设有与凸起滑动连接的通槽,所述限制杆的外壁与限位杆的内壁滑动设置,所述限制杆的外壁上套设有复位弹簧;
所述限制杆的前后两端均设置有凸块,且复位弹簧位于两组凸块之间。
优选的,所述渗透孔的前端与凹槽相连通,所述渗透孔的孔口壁具有机械加工形成的斜面,且斜面方向与凹槽位置相反。
优选的,所述压块机构包括螺旋升降机、挤压仓和转动槽,所述螺旋升降机的外壁与处理罐的顶壁固定连接,所述螺旋升降机的螺旋杆轴端上固定连接有第二齿轮,所述第二齿轮与驱动齿轮水平设置,所述挤压仓的外壁与处理罐的外壁固定连接,所述挤压仓的内壁中固定设置有液压升降杆,且液压升降杆的底端固定有压板,所述转动槽开设在挤压仓的内壁上,所述转动槽的内壁中转动设置有伸缩杆,所述伸缩杆的轴端套设有扭转弹簧,所述伸缩杆末端一侧转动连接有斜杆,所述斜杆的另一端铰接有齿板,且齿板的另一侧与挤压仓的内壁铰接设置,所述齿板的下侧啮合连接有锁定齿轮,且锁定齿轮的轴端上固定连接有底盖,所述底盖的轴端与及挤压仓的底部相铰接;
所述挤压仓的内壁中固定设置有渗透仓,且渗透仓的外壁为透水层设置,并且渗透仓的内部与处理罐的内腔相连通。
优选的,所述伸缩杆中的移动端与固定端之间通过弹簧固定连接设置,所述伸缩杆的前端具有机械加工形成的斜面,且斜面与压板的底面相匹配。
优选的,所述清理机构包括活动槽和清理仓,所述活动槽开设在处理罐的外壁上,所述清理仓的外壁与活动槽滑动设置,所述清理仓的一侧内壁上设置有驱动件,所述清理仓的底壁上转动连接有传动杆,所述传动杆的顶端固定连接有往复丝杆,所述往复丝杆的外壁上螺纹设置有滑块,所述滑块的两侧外壁上均铰接有刮擦板,所述刮擦板的前端延伸至清理仓的外壁上,所述刮擦板的前端具有机械加工形成的斜板,且斜面朝上,所述刮擦板的内部中开设有漏孔。
优选的,所述驱动件包括驱动仓,所述驱动仓的外壁与清理仓的内壁固定连接,所述驱动仓的内壁中转动连接有驱动轮,所述驱动轮的外壁上固定连接有第三齿轮,所述第三齿轮的底端铰接有端面齿轮,所述端面齿轮的底端与驱动仓转动设置,所述端面齿轮的轴端通过皮带与传动杆连接。
与现有技术相比,本发明的有益效果:
本发明中,通过压迫板中渗透孔和凹槽的设置,进行过滤操作,将大多数废渣过滤至处理罐的底部,方便进行后续抽取,能够提高过滤效果。
本发明中,通过压块机构的设置,使得在压迫板完全下移后,触发螺旋升降机,将罐底的废渣灌入挤压仓中,并通过压板和伸缩杆的设置,使得在完成挤压复位后,能够自动打开底盖进行废料块的释放。
本发明中,通过清理机构的设置,在移动清理仓的时候,能够驱动往复丝杆进行转动使得,在上移清理仓时,能够对挤压仓的侧壁进行刮擦清理,并且通过往复移动的滑块的设置,去摆动刮擦板,便于废料的落入。
(发明人:马龙;宋立国;王春雷;杨杰;张敬伟)






