公布日:2024.12.17
申请日:2024.10.14
分类号:C02F11/122(2019.01)I;C02F11/13(2019.01)I;B01D25/34(2006.01)I;B01D25/38(2006.01)I
摘要
本发明涉及污泥处理领域,具体公开了高压双隔膜板框干化一体机,包括支撑架,所述支撑架上设置有压动机构,所述支撑架上设置有隔膜组件及板框组件,所述隔膜组件与所述板框组件交替排布,所述隔膜组件与所述板框组件之间形成容纳泥饼的容置空间。本发明对泥饼循环加热进行干燥,从而降低泥饼的含水率,在卸载泥饼时,依次拉动隔膜组件与板框组件,迫使泥饼与隔膜组件及板框组件松动分离,实现隔膜组件与板框组件分离时,泥饼顺利掉落,避免挤压作用导致泥饼附着现象,迫使泥饼自动脱落,减小设备卡顿现象,使得设备连续性工作,提高设备对污泥的处理效率,利于设备对泥饼分离的自动处理,提高干燥效率,降低企业的生产成本。

权利要求书
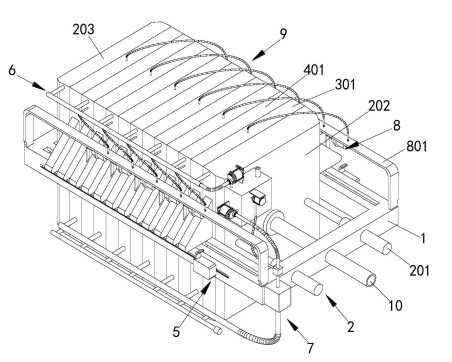
1.高压双隔膜板框干化一体机,其特征在于,包括支撑架(1),所述支撑架(1)上设置有压动机构(2),所述支撑架(1)上设置有隔膜组件(3)及板框组件(4),所述隔膜组件(3)与所述板框组件(4)交替排布,所述隔膜组件(3)与所述板框组件(4)之间形成容纳泥饼的容置空间,所述压动机构(2)用于挤压所述隔膜组件(3)与所述板框组件(4),所述支撑架(1)上设置有用于拉动所述隔膜组件(3)与所述板框组件(4)的拉动机构(5);所述压动机构(2)上设置与容置空间相连通的清洗组件(6),所述清洗组件(6)用于清洗泥饼,所述支撑架(1)上设置有与所述隔膜组件(3)及所述清洗组件(6)连通的循环加热组件(7),所述循环加热组件(7)对泥饼加热处理以干燥泥饼;所述拉动机构(5)上均设置有传动组件(8),所述传动组件(8)上设置有推动组件(9),所述推动组件(9)位于所述隔膜组件(3)与所述板框组件(4)内部,当所述拉动机构(5)运动时,所述隔膜组件(3)与所述板框组件(4)分离,所述推动组件(9)推动容置空间的泥饼掉落;所述压动机构(2)上设置有通入污泥的进料管(10),所述进料管(10)与每个容置空间均连通。
2.根据权利要求1所述的高压双隔膜板框干化一体机,其特征在于,所述压动机构(2)包括安装在所述支撑架(1)上的液压推杆(201),所述支撑架(1)上滑动设置有压动板(202),所述压动板(202)设置在所述液压推杆(201)的输出端上,所述支撑架(1)的末端设置有抵触板(203),所述隔膜组件(3)与所述板框组件(4)位于所述压动板(202)与所述抵触板(203)之间。
3.根据权利要求2所述的高压双隔膜板框干化一体机,其特征在于,所述隔膜组件(3)包括滑动设置在所述支撑架(1)上的框体一(301),所述框体一(301)的内部中空,所述框体一(301)的两侧安装有橡胶膜片(302),两个所述橡胶膜片(302)通过管道一(303)连接以使得所述框体一(301)的内部空间封闭,所述管道一(303)将所述框体一(301)两侧的容置空间连通,所述框体一(301)的两侧均卡接有滤布(304),所述滤布(304)紧贴在所述橡胶膜片(302)的表面。
4.根据权利要求3所述的高压双隔膜板框干化一体机,其特征在于,所述板框组件(4)包括滑动设置在所述支撑架(1)上的框体二(401),所述框体二(401)上设置有与所述管道一(303)相适配的管道二(402),所述管道二(402)将所述框体二(401)两侧的容置空间连通,所述框体二(401)的两侧均卡接有滤布(304),所述滤布(304)紧贴在所述框体二(401)的表面,所述框体一(301)与所述框体二(401)贴合时容纳泥饼。
5.根据权利要求4所述的高压双隔膜板框干化一体机,其特征在于,所述拉动机构(5)包括设置在所述框体一(301)、所述框体二(401)及所述压动板(202)上的支撑块(501),所述支撑块(501)上设置有贯穿所述支撑架(1)的滑块(502),所述支撑架(1)上安装有运行车体(503),所述运行车体(503)上设置有弹性钩片(504),所述弹性钩片(504)用于拉动所述支撑块(501)沿着所述支撑架(1)运动。
6.根据权利要求5所述的高压双隔膜板框干化一体机,其特征在于,所述清洗组件(6)包括设置在所述压动板(202)上的水箱(601),所述水箱(601)上设置有补水管(602),所述水箱(601)上安装有与所述水箱(601)连通的增压泵一(603),所述增压泵一(603)的输出端连接有软管一(604),所述框体二(401)上设置有与所述软管一(604)连通的分水管(605),所述分水管(605)上设置有多个出水头(606),所述出水头(606)与所述框体二(401)两侧的容置空间连通。
7.根据权利要求6所述的高压双隔膜板框干化一体机,其特征在于,所述清洗组件(6)还包括设置在所述框体二(401)上的排水管(607),所述框体二(401)上设置有多个与所述排水管(607)连通的排水头(608),所述排水头(608)与所述框体二(401)两侧的容置空间连通,所述排水管(607)上连通设置有用于排水的软管二(609),所述软管二(609)将水排出设备外。
8.根据权利要求7所述的高压双隔膜板框干化一体机,其特征在于,所述循环加热组件(7)包括安装在所述水箱(601)上的增压泵二(701)及增压泵三(702),所述增压泵二(701)的输入端与所述水箱(601)连通,所述增压泵二(701)的输出端设置有输出管(703),所述输出管(703)上设置有循环箱(704),所述循环箱(704)上连通有软管三(705),所述支撑架(1)上设置有换热器(706),所述软管三(705)穿过所述换热器(706)且与所述换热器(706)进行热量交换,所述软管三(705)上设置有与所述框体一(301)内部连通的循环管(707),所述增压泵三(702)的输出端与所述水箱(601)连通,所述增压泵三(702)的输入端与所述循环箱(704)连通。
9.根据权利要求8所述的高压双隔膜板框干化一体机,其特征在于,所述传动组件(8)包括设置在所述支撑架(1)上的支撑板(801),所述支撑板(801)上设置有气缸一(802),所述气缸一(802)内设置有活塞一(803),所述活塞一(803)上设置有拉动杆(804),所述拉动杆(804)贯穿所述气缸一(802),所述支撑块(501)上设置有与所述拉动杆(804)连接的连接板(805)。
10.根据权利要求9所述的高压双隔膜板框干化一体机,其特征在于,所述推动组件(9)包括设置在所述气缸一(802)上的导管(901),所述框体一(301)及所述框体二(401)上均设置有呈T型的气缸二(902),所述气缸二(902)的两端均设置有活塞二(903),所述活塞二(903)上设置有推动杆(904),所述推动杆(904)贯穿所述气缸二(902),所述推动杆(904)上设置有推动板(905),其中,所述推动板(905)位于所述框体一(301)内部时,所述推动板(905)位于两个所述橡胶膜片(302)之间,且所述推动板(905)上开设有多个通孔(906);当所述推动板(905)位于所述框体二(401)外部时,所述推动板(905)紧密贴合在所述框体二(401)的表面,且所述推动杆(904)贯穿所述框体二(401)。
发明内容
本发明的一个目的在于提出高压双隔膜板框干化一体机,本发明所述的高压双隔膜板框干化一体机,包括支撑架,所述支撑架上设置有压动机构,所述支撑架上设置有隔膜组件及板框组件,所述隔膜组件与所述板框组件交替排布,所述隔膜组件与所述板框组件之间形成容纳泥饼的容置空间,所述压动机构用于挤压所述隔膜组件与所述板框组件,所述支撑架上设置有用于拉动所述隔膜组件与所述板框组件的拉动机构;
所述压动机构上设置与容置空间相连通的清洗组件,所述清洗组件用于清洗泥饼,所述支撑架上设置有与所述隔膜组件及所述清洗组件连通的循环加热组件,所述循环加热组件对泥饼加热处理以干燥泥饼;
所述拉动机构上均设置有传动组件,所述传动组件上设置有推动组件,所述推动组件位于所述隔膜组件与所述板框组件内部,当所述拉动机构运动时,所述隔膜组件与所述板框组件分离,所述推动组件推动容置空间的泥饼掉落;
所述压动机构上设置有通入污泥的进料管,所述进料管与每个容置空间均连通。
优选的,所述压动机构包括安装在所述支撑架上的液压推杆,所述支撑架上滑动设置有压动板,所述压动板设置在所述液压推杆的输出端上,所述支撑架的末端设置有抵触板,所述隔膜组件与所述板框组件位于所述压动板与所述抵触板之间。
优选的,所述隔膜组件包括滑动设置在所述支撑架上的框体一,所述框体一的内部中空,所述框体一的两侧安装有橡胶膜片,两个所述橡胶膜片通过管道一连接以使得所述框体一的内部空间封闭,所述管道一将所述框体一两侧的容置空间连通,所述框体一的两侧均卡接有滤布,所述滤布紧贴在所述橡胶膜片的表面。
优选的,所述板框组件包括滑动设置在所述支撑架上的框体二,所述框体二上设置有与所述管道一相适配的管道二,所述管道二将所述框体二两侧的容置空间连通,所述框体二的两侧均卡接有滤布,所述滤布紧贴在所述框体二的表面,所述框体一与所述框体二贴合时容纳泥饼。
优选的,所述拉动机构包括设置在所述框体一、所述框体二及所述压动板上的支撑块,所述支撑块上设置有贯穿所述支撑架的滑块,所述支撑架上安装有运行车体,所述运行车体上设置有弹性钩片,所述弹性钩片用于拉动所述支撑块沿着所述支撑架运动。
优选的,所述清洗组件包括设置在所述压动板上的水箱,所述水箱上设置有补水管,所述水箱上安装有与所述水箱连通的增压泵一,所述增压泵一的输出端连接有软管一,所述框体二上设置有与所述软管一连通的分水管,所述分水管上设置有多个出水头,所述出水头与所述框体二两侧的容置空间连通。
优选的,所述清洗组件还包括设置在所述框体二上的排水管,所述框体二上设置有多个与所述排水管连通的排水头,所述排水头与所述框体二两侧的容置空间连通,所述排水管上连通设置有用于排水的软管二,所述软管二将水排出设备外。
优选的,所述循环加热组件包括安装在所述水箱上的增压泵二及增压泵三,所述增压泵二的输入端与所述水箱连通,所述增压泵二的输出端设置有输出管,所述输出管上设置有循环箱,所述循环箱上连通有软管三,所述支撑架上设置有换热器,所述软管三穿过所述换热器且与所述换热器进行热量交换,所述软管三上设置有与所述框体一内部连通的循环管,所述增压泵三的输出端与所述水箱连通,所述增压泵三的输入端与所述循环箱连通。
优选的,所述传动组件包括设置在所述支撑架上的支撑板,所述支撑板上设置有气缸一,所述气缸一内设置有活塞一,所述活塞一上设置有拉动杆,所述拉动杆贯穿所述气缸一,所述支撑块上设置有与所述拉动杆连接的连接板。
优选的,所述推动组件包括设置在所述气缸一上的导管,所述框体一及所述框体二上均设置有呈T型的气缸二,所述气缸二的两端均设置有活塞二,所述活塞二上设置有推动杆,所述推动杆贯穿所述气缸二,所述推动杆上设置有推动板,其中,所述推动板位于所述框体一内部时,所述推动板位于两个所述橡胶膜片之间,且所述推动板上开设有多个通孔;当所述推动板位于所述框体二外部时,所述推动板紧密贴合在所述框体二的表面,且所述推动杆贯穿所述框体二。
本发明的有益效果如下:
本发明对污泥进行处理时,启动压动机构,利用压动机构推动隔膜组件及板框组件运动,直到隔膜组件与板框组件之间紧密接触形成密封,且隔膜组件与板框组件之间交替排布,利用设备将污泥通入进料管,在压力作用下,使得污泥充满隔膜组件与板框组件的容置空间内,形成含水量高的泥饼,对泥饼进行清洗,利用清洗组件对各个容置空间内的泥饼进行清洗,然后将水排出,利用循环加热组件将热水通入隔膜组件,迫使隔膜组件膨胀,从而挤压压缩容置空间内的泥饼,迫使水分排出,由于通入热水,使得容置空间内的泥饼的温度升高,热水不断循环输入,迫使容置空间内不断产生水蒸气且不断排出,直到泥饼的水分被烘干至合理含量;当泥饼的含水率下降至理想水平时,需要对泥饼进行卸载,将压动机构回退,迫使隔膜组件与板框组件之间的压力消失,利用拉动机构将隔膜组件与板框组件依次拉动,当拉动时,迫使传动组件动作,传动组件带动推动组件动作,推动组件将隔膜组件与板框组件上的泥饼推动,迫使泥饼松动顺利掉落;综上,本申请的高压双隔膜板框干化一体机,对泥饼循环加热进行干燥,从而降低泥饼的含水率,在卸载泥饼时,依次拉动隔膜组件与板框组件,迫使泥饼与隔膜组件及板框组件松动分离,实现隔膜组件与板框组件分离时,泥饼顺利掉落,避免挤压作用导致泥饼附着现象,迫使泥饼自动脱落,减小设备卡顿现象,使得设备连续性工作,提高设备对污泥的处理效率,利于设备对泥饼分离的自动处理,提高干燥效率,降低企业的生产成本。
(发明人:汪振林;马祖照)






