公布日:2024.12.13
申请日:2024.10.30
分类号:B01D21/24(2006.01)I;C02F11/02(2006.01)I;B09B3/00(2022.01)I
摘要
本发明属于生物除臭技术领域,公开了一种污泥自动清理装置。该装置包括吸收母管、滑动驱动组件和负压驱动件,吸收母管位于待清理设备内,吸收母管朝向待清理设备底部的一侧开设有多个负压吸孔,负压吸孔连通于负压驱动件,滑动驱动组件安装于待清理设备上,且滑动驱动组件传动连接于吸收母管,以使吸收母管能沿预设方向进行移动。采用上述污泥自动清理装置,不仅可以有效避免淤泥在生物塔内沉积发酵,释放恶臭气体,影响除臭系统的有效运行,防止排放的污染物污染环境;同时还可以避免人工清洗生物塔底部淤泥,从而减少了人工干预的过程,在降低了对人身危害性的同时,保证污泥清理效果达到预设标准,使得该污泥自动清理装置的实用性大大增强。

权利要求书
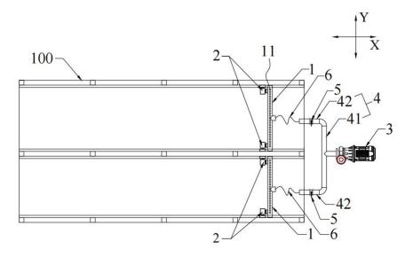
1.污泥自动清理装置,其特征在于,包括吸收母管(1)、滑动驱动组件(2)和负压驱动件(3),所述吸收母管(1)位于待清理设备(100)内,所述吸收母管(1)朝向所述待清理设备(100)底部的一侧开设有多个负压吸孔(11),所述负压吸孔(11)连通于所述负压驱动件(3),所述滑动驱动组件(2)安装于所述待清理设备(100)上,且所述滑动驱动组件(2)传动连接于所述吸收母管(1),以使所述吸收母管(1)能沿预设方向进行移动。
2.根据权利要求1所述的污泥自动清理装置,其特征在于,所述滑动驱动组件(2)包括定向滑轨(21)、传动件(22)和滑动驱动件(23),所述定向滑轨(21)沿所述预设方向延伸设置,且所述定向滑轨(21)的两端固连于所述待清理设备(100),所述传动件(22)沿所述预设方向可活动地设置于所述定向滑轨(21)上,所述传动件(22)连接于所述吸收母管(1),且所述滑动驱动件(23)传动连接于所述传动件(22)。
3.根据权利要求2所述的污泥自动清理装置,其特征在于,所述定向滑轨(21)内沿所述预设方向开设有滑道(211),所述传动件(22)可活动地设置于所述滑道(211)内。
4.根据权利要求3所述的污泥自动清理装置,其特征在于,所述定向滑轨(21)的壁面上贯穿开设有避位通道(212),所述避位通道(212)沿所述预设方向延伸设置,且所述避位通道(212)与所述滑道(211)相连通;所述传动件(22)为传动齿轮,所述传动齿轮的端面和侧面均贴合连接于所述滑道(211)的内壁面,所述滑动驱动件(23)的传动轴穿过所述避位通道(212)并与所述传动齿轮连接,所述滑动驱动件(23)的固定端固连于所述吸收母管(1)。
5.根据权利要求4所述的污泥自动清理装置,其特征在于,所述传动齿轮包括啮合连接的主传动齿轮(221)和从传动齿轮(222),所述主传动齿轮(221)连接于所述滑动驱动件(23)的传动轴,且所述主传动齿轮(221)、所述从传动齿轮(222)的端面和侧面均贴合连接于所述滑道(211)的内壁面。
6.根据权利要求1-5中任一项所述的污泥自动清理装置,其特征在于,所述污泥自动清理装置还包括分流管(4),所述分流管(4)包括总管(41)和至少两个分流支管(42),所述总管(41)的一端连接于所述负压驱动件(3),所述分流管(4)的另一端同时连通于至少两个所述分流支管(42);所述吸收母管(1)至少有两个,所述分流支管(42)一一对应连接于所述吸收母管(1),不同所述吸收母管(1)上的所述滑动驱动组件(2)能依序开启,以使至少两个所述吸收母管(1)能于所述待清理设备(100)内依序移动。
7.根据权利要求6所述的污泥自动清理装置,其特征在于,所述污泥自动清理装置还包括控制器和至少两个电磁开关阀(5),每个所述分流支管(42)上都设置有所述电磁开关阀(5),所述控制器通讯连接于至少两个所述电磁开关阀(5)以及至少两个所述吸收母管(1)上的所述滑动驱动组件(2),所述控制器能控制不同所述吸收母管(1)上的所述滑动驱动组件(2)依序开启,并能控制不同所述分流支管(42)上的所述电磁开关阀(5)依序开启。
8.根据权利要求1-5中任一项所述的污泥自动清理装置,其特征在于,所述污泥自动清理装置还包括过流软管(6),所述过流软管(6)的两端分别连接于所述吸收母管(1)和所述负压驱动件(3)。
9.根据权利要求1-5中任一项所述的污泥自动清理装置,其特征在于,所述吸收母管(1)的两端均设置有所述滑动驱动组件(2)。
10.根据权利要求1-5中任一项所述的污泥自动清理装置,其特征在于,所述吸收母管(1)与所述待清理设备(100)的底面间隔设置。
发明内容
本发明的目的在于提供一种污泥自动清理装置,能够减少人工干预,从而在降低对人身危害性的同时,保证污泥清理效果达标。
为达此目的,本发明采用以下技术方案:
污泥自动清理装置,包括吸收母管、滑动驱动组件和负压驱动件,所述吸收母管位于待清理设备内,所述吸收母管朝向所述待清理设备底部的一侧开设有多个负压吸孔,所述负压吸孔连通于所述负压驱动件,所述滑动驱动组件安装于所述待清理设备上,且所述滑动驱动组件传动连接于所述吸收母管,以使所述吸收母管能沿预设方向进行移动。
作为优选,所述滑动驱动组件包括定向滑轨、传动件和滑动驱动件,所述定向滑轨沿所述预设方向延伸设置,且所述定向滑轨的两端固连于所述待清理设备,所述传动件沿所述预设方向可活动地设置于所述定向滑轨上,所述传动件连接于所述吸收母管,且所述滑动驱动件传动连接于所述传动件。
作为优选,所述定向滑轨内沿所述预设方向开设有滑道,所述传动件可活动地设置于所述滑道内。
作为优选,所述定向滑轨的壁面上贯穿开设有避位通道,所述避位通道沿所述预设方向延伸设置,且所述避位通道与所述滑道相连通;
所述传动件为传动齿轮,所述传动齿轮的端面和侧面均贴合连接于所述滑道的内壁面,所述滑动驱动件的传动轴穿过所述避位通道并与所述传动齿轮连接,所述滑动驱动件的固定端固连于所述吸收母管。
作为优选,所述传动齿轮包括啮合连接的主传动齿轮和从传动齿轮,所述主传动齿轮连接于所述滑动驱动件的传动轴,且所述主传动齿轮、所述从传动齿轮的端面和侧面均贴合连接于所述滑道的内壁面。
作为优选,所述污泥自动清理装置还包括分流管,所述分流管包括总管和至少两个分流支管,所述总管的一端连接于所述负压驱动件,所述分流管的另一端同时连通于至少两个所述分流支管;
所述吸收母管至少有两个,所述分流支管一一对应连接于所述吸收母管,不同所述吸收母管上的所述滑动驱动组件能依序开启,以使至少两个所述吸收母管能于所述待清理设备内依序移动。
作为优选,所述污泥自动清理装置还包括控制器和至少两个电磁开关阀,每个所述分流支管上都设置有所述电磁开关阀,所述控制器通讯连接于至少两个所述电磁开关阀以及至少两个所述吸收母管上的所述滑动驱动组件,所述控制器能控制不同所述吸收母管上的所述滑动驱动组件依序开启,并能控制不同所述分流支管上的所述电磁开关阀依序开启。
作为优选,所述污泥自动清理装置还包括过流软管,所述过流软管的两端分别连接于所述吸收母管和所述负压驱动件。
作为优选,所述吸收母管的两端均设置有所述滑动驱动组件。
作为优选,所述吸收母管与所述待清理设备的底面间隔设置。
本发明所提供的污泥自动清理装置的有益效果:
该污泥自动清理装置包括吸收母管、滑动驱动组件和负压驱动件,滑动驱动组件传动连接于吸收母管,以使吸收母管能沿预设方向进行移动,并通过负压驱动件自动对待清理设备底部的污泥进行吸取清理。通过上述设置,不仅可以有效避免淤泥在待清理设备内沉积发酵,释放恶臭气体,影响除臭系统的有效运行,防止排放的污染物污染环境;同时还可以避免人工清洗待清理设备底部淤泥,从而减少了人工干预的过程,在降低了对人身危害性的同时,保证污泥清理效果达到预设标准。
(发明人:郑筱凯;陈驰;张文帅)






