公布日:2024.12.13
申请日:2024.09.06
分类号:G01N21/47(2006.01)I;G01N21/49(2006.01)I;G01N21/01(2006.01)I
摘要
本申请涉及污泥含水率检测技术领域,提供一种污泥含水率检测装置。一种污泥含水率检测装置,包括基座、透光模块、漫射光发射模块、漫射光探测模块和电控系统,透光漫射光发射模块向透光模块垂直发射漫射光,将所述漫射光射入待测污泥表面,漫射光探测模块接收漫射光在待测污泥中漫反射进入所述透光模块中的漫反射光,并将漫反射光转换成电信号传输至电控系统,电控系统基于光电信号与漫反射原理计算得到污泥含水率,实现在多种污泥场景下,对污泥中含水率的实时在线精准测量。

权利要求书
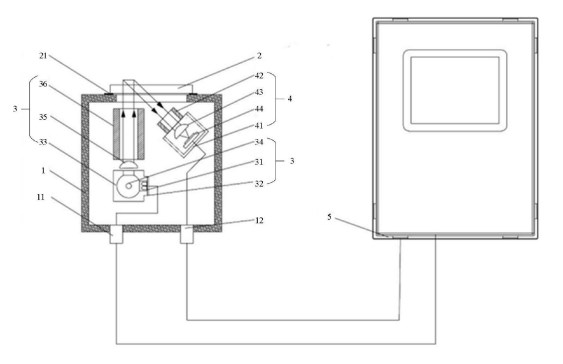
1.一种污泥含水率检测装置,其特征在于,包括:基座(1);透光模块(2),设置在所述基座(1)上方;漫射光发射模块(3),设置在所述基座(1)内部的一端,垂直固定在所述透光模块(2)下方,用于向所述透光模块(2)垂直发射漫射光,将所述漫射光射入待测污泥表面;漫射光探测模块(4),设置在所述基座(1)内部中远离所述漫射光发射模块(3)的另一端,倾斜固定在所述透光模块(2)下方,用于接收所述漫射光在所述待测污泥中漫反射进入所述透光模块(2)中的漫反射光;电控系统(5),有线连接所述漫射光发射模块(3)和所述漫射光探测模块(4),用于激发所述漫射光发射模块(3)发射漫射光,接收所述漫射光探测模块(4)接收的漫反射光并将所述漫反射光转化后的光电信号,基于所述漫射光与所述光电信号生成检测数据,得到检测结果。
2.根据权利要求1所述的污泥含水率检测装置,其特征在于,所述基座(1)下方设有第一插头母座(11)与第二插头母座(12),所述第一插头母座(11)一端有线连接所述漫射光发射模块(3),另一端有线连接所述电控系统(5);所述第二插头母座(12)一端有线连接所述漫射光探测模块(4),另一端有线连接所述电控系统(5)。
3.根据权利要求2所述的污泥含水率检测装置,其特征在于,所述漫射光发射模块(3)包括发光光源(31)、驱动电路板(32)、积分球(33)、光源探测器(34)、发射透镜(35)以及第一光阑(36),所述发光光源(31)设置在所述驱动电路板(32)上,所述发光光源(31)设置在所述积分球(33)一侧,所述积分球(33)将发光光源的光进行多次反射,形成均匀的漫射光出射,积分球(33)一侧设有检测光照的光源探测器(34),所述光源探测器将所述积分球(33)发出的漫射光转换成光电信号,所述发射透镜(35)设置在所述积分球(33)上方,用于将所述均匀漫射光成像到透光模块(2)与污泥的接触面,所述第一光阑(36)设置在所述发射透镜(35)上方,用于将所述漫射光限制到所述透光模块(2)的测量区域。
4.根据权利要求3所述的污泥含水率检测装置,其特征在于,所述驱动电路板(32)与所述第一插头母座(11)有线连接。
5.根据权利要求4所述的污泥含水率检测装置,其特征在于,所述漫射光探测模块(4)包括屏蔽外壳(41)、第二光阑(42)、接收透镜(43)以及光电接收器(44),所述第二光阑(42)设置在所述屏蔽外壳(41)上方,所述接收透镜(43)和所述光电接收器(44)安装在所述屏蔽外壳(41)内部,且所述接收透镜(43)设置在所述第二光阑(42)与所述光电接收器(44)之间,所述第二光阑(42)用于限制所述发射光的杂散光,所述接收透镜(43)将所述污泥漫反射光成像至所述光电接收器(44),所述光电接收器(44)生成与漫反射光成正比的光电信号并传输至所述电控系统(5)。
6.根据权利要求5所述的污泥含水率检测装置,其特征在于,所述光电接收器(44)与所述第二插头母座(12)有线连接。
7.根据权利要求6所述的污泥含水率检测装置,其特征在于,所述电控系统(5)包括CPU(51)以及与所述CPU(51)连接的光源驱动模块(52)、信号处理模块(53)、显示模块以及通讯模块(54),所述光源驱动模块(52)与所述第一插头母座(11)有线连接,控制所述驱动电路板(32)激发所述发光光源(31)发出漫射光,第一插头母座(11)同时传输光源探测器(34)的光电信号;所述第二插头母座传输所述光电接收器(44)将接收到的漫反射光转换成的光电信号至信号处理模块(53);所述信号处理模块(53)将所述光电信号处理为数字信号,并输出至CPU(51),所述CPU(51)对所述信号进行信号分析,生成所述污泥含水率检测数据,所述显示模块用于显示所述检测数据;所述通讯模块(54)用于外部通讯传输所述检测数据。
8.根据权利要求7所述的污泥含水率检测装置,其特征在于,所述信号处理模块(53)包括信号滤波放大模块(531)以及A/D转换模块(532),所述信号滤波放大模块(531)将所述光电信号放大为目标电信号,并将所述目标电信号传输至A/D转换模块(532);所述A/D转换模块(532)将所述目标电信号转换为数字信号,并将所述数字信号传输至所述CPU(51)。
9.根据权利要求8所述的污泥含水率检测装置,其特征在于,所述信号输出模块包括4-20mA模块(541)和RS485模块(542),用于与外部客户端设备通讯。
10.根据权利要求1所述的污泥含水率检测装置,其特征在于,所述透光模块(2)与所述基座(1)之间设有氟胶密封圈(21)。
发明内容
有鉴于此,本申请提供一种污泥含水率检测装置,通过漫反射原理测量污泥的漫反射光,来实现污泥含水率的精准测量,用于解决现有污泥含水率在线检测仪测量误差的技术问题。
本申请提供了污泥含水率检测装置,采用如下的技术方案:一种污泥含水率检测装置,包括:基座;透光模块,设置在所述基座上方;漫射光发射模块,设置在所述基座内部的一端,垂直固定在所述透光模块下方,用于向所述透光模块垂直发射漫射光,将所述漫射光射入待测污泥表面;漫射光探测模块,设置在所述基座内部中远离所述漫射光发射模块的另一端,倾斜固定在所述透光模块下方,用于接收所述漫射光在所述待测污泥中漫反射进入所述透光模块中的漫反射光;电控系统,有线连接所述漫射光发射模块和所述漫射光探测模块,用于激发所述漫射光发射模块发射漫射光,接收所述漫射光探测模块接收的漫反射光并将所述漫反射光转化后的光电信号,基于所述漫射光与所述光电信号生成检测数据,得到检测结果。
通过采用上述技术方案,采用漫射光垂直发射到污泥表面,有效避免了光线直接反射导致的测量误差,提高了测量的准确性;漫射光探测模块倾斜设置,能更全面地捕捉污泥内部因水分含量不同而产生的反射光,增强了检测的灵敏度和可靠性;电控系统智能化控制整个过程,从激发光源到接收信号,基于漫射光原理对光信号进行分析生成精准的检测结果,实现了自动化对污泥含水率的在线检测,提高了工作效率与检测精度。
可选的,所述基座下方设有第一插头母座与第二插头母座,所述第一插头母座一端有线连接所述漫射光发射模块,另一端有线连接所述电控系统;所述第二插头母座一端有线连接所述漫射光探测模块,另一端有线连接所述电控系统。
通过采用上述技术方案,第一插头母座作为漫射光发射模块与电控系统的桥梁,可以通过电控系统实时在线控制漫射光发射模块发射漫射光,第二插头母座作为漫射光探测模块与电控系统的桥梁,可以通过电控系统实时在线获取漫射光探测模块检测到的反射光,确保信号传输的高效与准确的同时,实现了对污泥含水率的实时在线检测。
可选的,所述漫射光发射模块包括发光光源、驱动电路板、积分球、光源探测器、发射透镜以及第一光阑,所述发光光源设置在所述驱动电路板上,所述发光光源设置在所述积分球的一侧,所述积分球将发光光源的光进行多次反射,形成均匀光出射,积分球一侧设有检测光照的光源探测器,所述光源探测器将所述积分球发出的漫射光转换成光电信号,所述发射透镜设置在所述积分球上方,用于将所述均匀漫射光成像到透光表面与污泥的接触面,所述第一光阑设置在所述发射透镜上方,用于将所述漫射光限制到所述透光模块的测量区域。
通过采用上述技术方案,驱动电路板可激发发光光源发射处漫射光,且积分球设置在发射光光源一侧的入口处,漫射光可从积分球的入光口进入积分球内部,由积分球内部的光源探测器捕捉漫射光,对漫射光的衰减进行监测修正,光源探测器在积分球内部实时监测光照情况,反馈调节发光光源,确保光强稳定;发射透镜对漫射光进行进一步聚焦并优化漫射光,使其更加集中地射向透光模块,提高了光能利用率;第一光阑发射的漫射光的精确导向,减少了光线的散射和损失,限制均匀的漫射光发射到能够精确测量的测量区域,确保光源的稳定性和均匀性,增强了检测信号的强度和清晰度,提高了对污泥含水率的测量精度。
可选的,所述驱动电路板与所述第一插头母座有线连接。
通过采用上述技术方案,电控系统能够精确控制驱动电路板,进而调节发光光源的亮度、开关等参数,实现对光源输出的精细调控,在不同污泥场景中调节不同的漫射光光强进行检测,提高了对污泥含水率检测的灵活性。
可选的,所述漫射光探测模块包括屏蔽外壳、第二光阑、接收透镜以及光电接收器,所述第二光阑设置在所述屏蔽外壳上方,所述接收透镜和所述光电接收器安装在所述屏蔽外壳内部,且所述接收透镜设置在所述第二光阑与所述光电接收器之间,所述第二光阑用于限制所述发射光的散杂光,所述接收透镜将所述漫反射光成像至所述光电接收器,所述光电接收器生成与漫反射光信号成正比的光电信号并传输至所述电控系统。
通过采用上述技术方案,通过屏蔽外壳隔绝了外部环境中的杂散光、电磁干扰等不利因素,确保了探测过程中发射光的纯净度;第二光阑精准地限制了入射光的角度和范围,仅允许特定方向的发射光进入探测模块,从而有效减少了非目标光源的干扰,提升了探测的精准性;接收透镜将反射光高效聚焦至光电接收器上,增强了光信号的强度,使得即便在较弱光环境下也能获得清晰的信号;光电接收器可以将接收到的光信号转换为电信号,并实时传输至电控系统进行处理,确保了整个检测装置的快速响应能力和数据处理效率。提高了检测装置的抗干扰能力与光电转换效率,实现对污泥含水率的高精度、高灵敏度检测。
可选的,所述光电接收器与所述第二插头母座有线连接。
通过采用上述技术方案,电控系统可以实时在线获取到光电接收器传输的光信号,对污泥含水率的进行实时测量。
可选的,所述电控系统包括CPU以及与所述CPU连接的光源驱动模块、信号处理模块、显示模块以及通讯模块,所述光源驱动模块与所述第一插头母座有线连接,控制所述驱动电路板激发所述发光光源发出漫射光;所述第一插头母座同时传输光源探测器的光电信号;所述第二插头母座传输所述光电接收器的光电信号至信号处理模块;所述信号处理模块将所述光电信号处理为数字信号,并输出至CPU,所述CPU对所述信号进行信号分析,生成所述检测数据,所述显示模块用于显示所述检测数据;所述通讯模块用于外部通讯传输所述检测数据。
通过采用上述技术方案,通过CPU为核心协调各模块工作,确保了光源的稳定激发与光信号的精确处理,其中光源驱动模块与第一插头母座的有线连接,实现了对发光光源的精准控制,确保了漫射光的有效发出;光源恒流调制模块与第二插头母座的有线连接,则确保了光电接收器接收到的光信号能够被稳定调制并传输至信号处理模块,提升信号质量;信号处理模块将光信号转换为模拟信号,CPU对这些信号进行深度分析,快速准确地生成污泥含水率的检测数据,并通过显示模块直观展示检测结果,便于用户即时了解污泥状态,同时,通讯模块支持外部通讯,能够实时传输检测数据至远程监控中心或与其他系统联动。提高了污泥含水率检测的精度与效率。
可选的,所述信号处理模块包括信号滤波放大模块以及A/D转换模块,所述信号滤波放大模块将所述光电信号放大为目标电信号,并将所述目标电信号传输至A/D转换模块;所述A/D转换模块将所述目标电信号转换为数字信号,并将所述数字信号传输至所述CPU。
通过采用上述技术方案,通过信号滤波放大模块去除光电信号中的噪声和干扰,增强了光电信号的清晰度和可靠性,并将其放大至适合处理的水平,通过A/D转换模块则将放大后的光电信号转换为CPU可识别的数字信号,提高信号的质量与可识别性,增强系统的抗干扰能力和稳定性,确保了CPU能够接收到准确、清晰的信号,从而更精确地分析污泥含水率,提升整个检测装置的检测准确性和可靠性。
可选的,所述信号输出模块包括4-20mA模块和RS485模块,用于与外部客户端设备通讯。
通过采用上述技术方案,信号输出模块中集成的4-20mA模块和RS485模块,为污泥含水率检测设备与外部客户端设备之间的通讯提供了灵活多样的选择,其中4-20mA模块采用模拟信号传输方式,具有传输稳定、抗干扰能力强等特点,适用于对传输距离要求不高的场景,RS485模块则支持数字信号传输,具有传输距离远、传输速率高、支持多节点通信等优势,能够满足复杂网络环境下的通讯需求。外部客户端设备可以根据实际需求选择合适的通讯方式,实现与污泥含水率检测设备的远程通讯,在不同区域可以实时获取到污泥含水率的检测结果。
可选的,所述透光模块与所述基座之间设有氟胶密封圈。
通过采用上述技术方案,氟胶密封圈设置在透光模块与基座之间,有效提升了装置的密封性能,防止了外部水分、污泥杂质等进入装置内部,保障各个元件的稳定运行,同时增强了设备的耐用性和维护便利性。
综上所述,本申请包括以下至少一种有益技术效果:1.采用漫射光原理进行测量,通过漫射光发射模块与漫射光探测模块结合测量,确保了光源的稳定性和光信号的纯净度,减少了外界干扰对检测结果的影响,提高了测量的准确性。
2.通过电控系中的多个功能模块,实现对发光光源的精准控制和光信号的实时接收与处理,实现不同污泥测量场景的需求,快速调整检测参数,实现实时在线检测,并将对应的检测结果的显示且可被外部客户端实时在线查询。
3.在透光模块与基座之间设置氟胶密封圈,该装置有效隔绝了外部环境中的腐蚀性物质和杂质,提高了设备的环境适应性。这种密封设计不仅延长了设备的使用寿命,还减少了因环境因素导致的故障率,降低了维护成本。
(发明人:吕伟;王钊;旷辰阳;黎永祺;钟敏;陈广;张韶华)






