公布日:2024.12.17
申请日:2024.11.18
分类号:B01D21/02(2006.01)I;B01D21/24(2006.01)I
摘要
本发明公开了一种基坑泥浆循环处理装置及处理方法,本发明中:沉淀池、位于沉淀池之后的多个沉淀罐,沉淀池底部配置有输送组件,沉淀池的一侧开设有用于输送组件输送泥砂的出料口,通过设置多个沉淀罐,在沉淀罐中的泥水经浊度传感模块和浊度检测机构检测后,将不同浊度的泥水回流至对应浊度参数的排液区位置,而位于排液区上部液体经输送管输送至首个位置沉淀罐的底部,首个沉淀罐上部液体经输送管输送至下游相邻位置沉淀罐的底部,继续进行沉淀,这样将不同浊度的泥水排入对应浊度参数的排液区位置,可以防止浊度较高的泥水排入污泥浊度较少的区域里,造成浊度较少的区域内,水体被搅动浑浊,导致再次沉淀需要较长的时间。

权利要求书
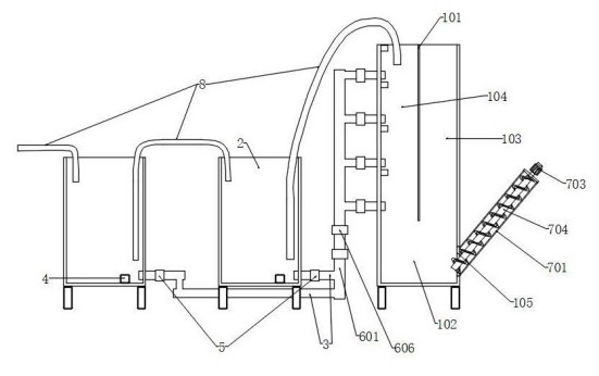
1.一种基坑泥浆循环处理方法,实现该处理方法依托于一种基坑泥浆循环处理装置,处理装置包括沉淀池(1)、位于沉淀池(1)之后的多个沉淀罐(2),所述沉淀池(1)底部配置有倾斜朝上设置的输送组件(7),所述沉淀池(1)的一侧开设有用于输送组件(7)输送泥砂的出料口(105),所述输送组件(7)包括设置在出料口(105)位置处的防护壳(701)、与防护壳(701)固定连接的驱动电机(703)、转动设置在防护壳(701)内的螺旋输送叶片(704),所述螺旋输送叶片(704)贯穿出料口(105)并伸入沉淀池(1)的底部,其特征在于:所述沉淀池(1)的内部固定设置有隔板(101),所述隔板(101)下侧端与沉淀池(1)底板之间形成沉淀区(102),所述隔板(101)一侧形成进料区(103)、另一侧形成排液区(104),其中,进料区(103)位于出料口(105)的上方;所述沉淀池(1)的一侧设置有与排液区(104)连通的分流组件(6),所述分流组件(6)包括主流管(601)、与主流管(601)连通的多个分流管(602)、竖直分布在沉淀池(1)排液区(104)内壁表面的多个浊度传感探头(604);其中,相邻两个分流管(602)与沉淀池(1)连通开口之间均配置有一个浊度传感探头(604),最高位置分流管(602)与沉淀池(1)连通开口上方也配置有一个浊度传感探头(604);所述主流管(601)的下侧端设置有单向输送泵(605)、浊度检测机构(606),每个所述分流管(602)都独立配置有一分电磁阀(603);每个沉淀罐(2)底部都配置有一个浊度传感模块(4),沉淀池(1)的排液区(104)与首个位置的沉淀罐(2)之间以及相邻的沉淀罐(2)之间都连接有输送管(8);每个沉淀罐(2)底部都连接有一个独立与主流管(601)连接的回液管(3),每个回液管(3)都配置有一个回液电磁阀(5);基坑泥浆循环处理方法如下:S1.泥浆从进料区(103)排入沉淀池(1),经沉淀,泥砂堆积在沉淀区(102),启动输送组件(7),将泥砂从出料口(105)排出沉淀池(1),分离后的液体进入排液区(104),排液区(104)上部液体经输送管(8)输送至首个位置沉淀罐(2)的底部,首个沉淀罐(2)上部液体经输送管(8)输送至下游相邻位置沉淀罐(2)的底部;S2.沉淀池(1)中多个浊度传感探头(604)开始工作,设多个浊度传感探头(604)自上而下依次监测到的浊度信息为(W1,W2,W3,...,Wn);S3.所有沉淀罐(2)中的浊度传感模块(4)开始工作,任意一个沉淀罐(2)中的浊度传感模块(4)检测沉淀罐(2)中的液体浊度为Wx;S3.1.若Wx≤W1,则当前沉淀罐(2)底部连接的回液管(3)保持关闭,无回液动作;S3.2.若Wx>W1,则当前沉淀罐(2)底部连接的回液管(3)上的回液电磁阀(5)打开,同时单向输送泵(605)启动,所有分电磁阀(603)都先打开,浊度检测机构(606)检测回流的液体浊度,记作Wy,然后关闭所有分电磁阀(603);判断Wy与(W1,W2)、(W2,W3)、(W3,W4)、...、(Wn-1,Wn)的参数范围关系,打开对应位置分流管(602)的分电磁阀(603),浊液回流至对应浊度参数的排液区位置;其中,若Wy>Wn,则最低位置分流管(602)的分电磁阀(603)打开,浊液回流至排液区最底部位置。
2.根据权利要求1所述的一种基坑泥浆循环处理方法,其特征在于:所述驱动电机(703)的输出端与螺旋输送叶片(704)的一端连接,所述防护壳(701)的一侧端开设有用于泥砂下料的落料口(702)。
3.根据权利要求1所述的一种基坑泥浆循环处理方法,其特征在于:所有回液管(3)与主流管(601)连接位置都位于单向输送泵(605)、浊度检测机构(606)下方;所有分电磁阀(603)与主流管(601)连接位置都位于单向输送泵(605)、浊度检测机构(606)上方。
4.根据权利要求1所述的一种基坑泥浆循环处理方法,其特征在于:沉淀池(1)的排液区(104)与首个位置的沉淀罐(2)之间的输送管(8),输送管(8)的一端插接在排液区(104)上部区域,输送管(8)的另一端插接在首个位置的沉淀罐(2)底部区域;相邻的沉淀罐(2)之间的输送管(8),输送管(8)的一端插接在上游侧沉淀罐(2)的上部区域,输送管(8)的另一端插接在下游侧沉淀罐(2)底部区域;所述输送管(8)配置有用于输送泥沙混合液体的泵体。
5.根据权利要求1所述的一种基坑泥浆循环处理方法,其特征在于:所述沉淀池(1)的进料区(103)宽度尺寸大于排液区(104)宽度尺寸。
6.根据权利要求1所述的一种基坑泥浆循环处理方法,其特征在于:所述主流管(601)上配置的浊度检测机构(606)位于单向输送泵(605)下游侧。
发明内容
为解决上述技术问题,本发明提供了一种基坑泥浆循环处理装置及处理方法,实现了在沉淀池中未沉淀完全的泥浆重新排入沉淀池,并且不同泥浆浊度还可以排入到沉淀池中对应的污泥沉淀区,这样防止不同浊度的泥浆混合,导致浊度较低的泥浆会再次变浑浊,增加沉淀时长。
为实现上述目的,本发明提供如下技术方案:一种基坑泥浆循环处理装置,包括沉淀池、位于沉淀池之后的多个沉淀罐,沉淀池底部配置有倾斜朝上设置的输送组件,沉淀池的一侧开设有用于输送组件输送泥砂的出料口,输送组件包括设置在出料口位置处的防护壳、与防护壳固定连接的驱动电机、转动设置在防护壳内的螺旋输送叶片,螺旋输送叶片贯穿出料口并伸入沉淀池的底部。
沉淀池的内部固定设置有隔板,隔板下侧端与沉淀池底板之间形成沉淀区,隔板一侧形成进料区、另一侧形成排液区,其中,进料区位于出料口的上方。
沉淀池的一侧设置有与排液区连通的分流组件,分流组件包括主流管、与主流管连通的多个分流管、竖直分布在沉淀池排液区内壁表面的多个浊度传感探头。
其中,相邻两个分流管与沉淀池连通开口之间都配置有一个浊度传感探头,最高位置分流管与沉淀池连通开口上方也配置有一个浊度传感探头。
主流管的下侧端设置有单向输送泵、浊度检测机构,每个分流管都独立配置有一分电磁阀。
每个沉淀罐底部都配置有一个浊度传感模块,沉淀池的排液区与首个位置的沉淀罐之间以及相邻的沉淀罐之间都连接有输送管。
每个沉淀罐底部都连接有一个独立与主流管连接的回液管,每个回液管都配置有一个回液电磁阀。
作为本发明优选的一种技术方案,驱动电机的输出端与螺旋输送叶片的一端连接,防护壳的一侧端开设有用于泥砂下料的落料口。
作为本发明优选的一种技术方案,所有回液管与主流管连接位置都位于单向输送泵、浊度检测机构下方。
所有分电磁阀与主流管连接位置都位于单向输送泵、浊度检测机构上方。
作为本发明优选的一种技术方案,沉淀池的排液区与首个位置的沉淀罐之间的输送管,输送管的一端插接在排液区上部区域,输送管的另一端插接在首个位置的沉淀罐底部区域;
相邻的沉淀罐之间的输送管,输送管的一端插接在上游侧沉淀罐的上部区域,输送管的另一端插接在下游侧沉淀罐底部区域;
输送管配置有用于输送泥沙混合液体的泵体。
作为本发明优选的一种技术方案,沉淀池的进料区宽度尺寸大于排液区宽度尺寸。
作为本发明优选的一种技术方案,主流管上配置的浊度检测机构位于单向输送泵下游侧。
本发明提供了一种基坑泥浆循环处理装置,包括以下步骤:
S1.泥浆从进料区排入沉淀池,经沉淀,泥砂堆积在沉淀区,启动输送组件,将泥砂从出料口排出沉淀池,分离后的液体进入排液区,排液区上部液体经输送管输送至首个位置沉淀罐的底部,首个沉淀罐上部液体经输送管输送至下游相邻位置沉淀罐的底部。
S2.沉淀池中多个浊度传感探头开始工作,设多个浊度传感探头自上而下依次监测到的浊度信息为(W1,W2,W3,...,Wn)。
S3.所有沉淀罐中的浊度传感模块开始工作,任意一个沉淀罐中的浊度传感模块检测沉淀罐中的液体浊度为Wx。
S3.1.若Wx≤W1,则当前沉淀罐底部连接的回液管保持关闭,无回液动作。
S3.2.若Wx>W1,则当前沉淀罐底部连接的回液管上的回液电磁阀打开,同时单向输送泵启动,所有分电磁阀都先打开,浊度检测机构检测回流的液体浊度,记作Wy,然后关闭所有分电磁阀。
判断Wy与(W1,W2)、(W2,W3)、(W3,W4)、...、(Wn-1,Wn)的参数范围关系,打开对应位置分流管的分电磁阀,浊液回流至对应浊度参数的排液区位置。
其中,若Wy>Wn,则最低位置分流管的分电磁阀打开,浊液回流至排液区最底部位置。
本发明提供了一种基坑泥浆循环处理装置,具备以下有益效果:
本发明通过设置多个沉淀罐,在沉淀罐中的泥水经浊度传感模块和浊度检测机构检测后,将不同浊度的泥水回流至对应浊度参数的排液区位置,而位于排液区上部液体经输送管输送至首个位置沉淀罐的底部,首个沉淀罐上部液体经输送管输送至下游相邻位置沉淀罐的底部,继续进行沉淀,这样将不同浊度的泥水排入对应浊度参数的排液区位置,可以防止浊度较高的泥水排入污泥浊度较少的区域里,造成浊度较少的区域内,水体被搅动浑浊,导致再次沉淀需要较长的时间,保证了排液区各个浊度区域的泥沙高效沉降,也保证了排液区顶部排液的清澈度和排出效率。
本发明实现了基坑泥浆的高效、连续化排出,并有效进行了沉降,同时在排液不达标情况下,最大程度上减少了回流浊液对初始第一沉淀池的沉降排出效率影响。
(发明人:储勇虎;费佳麟;孟幻)






